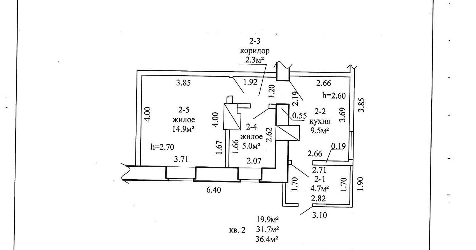
двухкомнатная квартира 2 дома 22А по пр-ду. Крепостному в г. Бресте, с инвентарным номером 100/D-138433 (общей площадью жилого помещения 31,7 кв.м)

двухкомнатная квартира 2 дома 22А по пр-ду. Крепостному в г. Бресте, с инвентарным номером 100/D-138433 (общей площадью жилого помещения 31,7 кв.м)

Лот №:
4
Тип объекта:
Недвижимость
Тип для права собственности:
Жилые капитальные строения, помещения
Регион:
г. Брест
Адрес:
квартира 2 дома 22А по пр-ду. Крепостному
Показать карту
Площадь:
31,7 кв.м
Условия продажи:
возместить в течение 10 календарных дней с даты заключения договора купли-продажи КУП «ЖРЭУ г. Бреста» расходов на определение стоимости в сумме 649,14 (шестьсот сорок девять рублей четырнадцать копеек
Начальная цена:
37700,00 рублей
Сумма задатка:
4 500,00 рублей
Продавец (Балансодержатель):
КУП «ЖРЭУ г. Бреста» г. Брест, ул. Папанина, 1, тел. 8 (0162) 34 19 32